Страница 118
Страница 118к его полюсам притягивается железная пластинка ___, в результате чего _____ ударяет о _____ и слышится звон. В этот момент _____ контактная отходит от винта, и цепь разрывается.
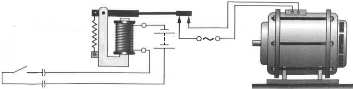
Задание 53.3 На рисунке изображено электромагнитное реле, с помощью которого запускают в действие мощный электрический двигатель, приводя его в действие малой силой тока.

a) Отметьте на рисунке буквами соответствующие им детали, входящие в состав этого устройства:
ЭМ (электромагнит), Я (якорь), П (пружина), Э (электродвигатель), КЭ (контакты цепи электродвигателя), КР (контакты рабочей цепи), К (ключ).
б) Заполните пропуски в тексте буквенными обозначениями деталей устройства, представленного на рисунке.
При замыкании ___, находящегося далеко от электродвигателя, ток начинает течь по ___, у торца которого возникает магнитное поле. Под действием сил магнитного поля ___(металлическая пластина) отклоняется вниз, растягивая при этом __ и замыкая __ рабочей цепи.
Задание 53.4 На рисунке показан электромагнит, состоящий из стального гвоздя и медного провода в изоляции, намотанного на этот гвоздь. Концы провода присоединены к полюсам источника тока. На рисунке укажите:
a) направление тока в проводе;
б) название полюсов электромагнита вблизи шляпки и острого конца гвоздя.
